Paciente: Masculino, 28 años.
Motivo de la consulta: aumento de tamaño en el sector izquierdo del cuerpo mandibular.
Estudio solicitado: Cone Beam.
El paciente presenta inflamación/aumento de tamaño del lado izquierdo, indoloro. No se consignan antecedentes relevantes.
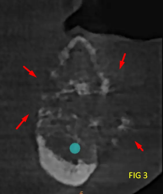
En las reconstrucciones 3D y cortes multiplanares (ver Fig 1, 2 y 3) se observa lesión oseteolítica extensa con ausencia de una capsula definida, ubicada en el cuerpo mandibular, lado izquierdo, zona de premolares.
Presenta tabiques óseos finos que delimitan compartimentos irregulares con expansión y adelgazamiento de las corticales óseas, con áreas de compromiso cortical. La relación cercana con el conducto dentario inferior, sin evidencia clara de invasión, pero con desplazamiento y borramiento en sectores de dicha pared del conducto.
En cortes transversales se aprecia la naturaleza infiltrativa de la lesión, con forma de rayos de luz, sin límites netos, característica típica del mixoma Odontogénico.
COMENTARIOS:
El mixoma odontogénico es una neoplasia benigna poco frecuente de origen mesenquimático, caracterizada por un comportamiento localmente agresivo, crecimiento lento y alta tasa de recurrencia si no se reseca adecuadamente. Su diagnóstico se apoya fuertemente en los hallazgos imagenológicos, siendo la tomografía computarizada Cone Beam (CBCT) fundamental para su correcta caracterización.
Es un tumor benigno no encapsulado de las mandíbulas que ocurre muy raramente. Se pueden dividir en 2 grupos: tumores que surgen específicamente en las mandíbulas (el tipo más común) y aquellos que surgen en los tejidos blandos de esa área. OM se describe comúnmente como un tumor de crecimiento lento y generalmente sin síntomas. Se cree que el origen de la OM es el ectomesénquima odontogénico de un diente en desarrollo o células mesenquimales no diferenciadas en el ligamento periodontal.
COLABORACION: Lic. En diagnostico por imágenes López Natalia Gisel.



